
聯系人:肖經理
電話:0755-23197339
傳真:0755-29859300
手機:13828771664
郵箱:aotuoshi@atus.email
地址:深圳市光明區公明街道上村社區蓮塘工業城B區第19棟101、第20棟
在寫這篇文章之前,澳托士有給大家介紹過力士樂液壓馬達偏心曲軸的主要結構特點(力士樂液壓馬達偏心曲軸的主要結構特點)以及加工概況(力士樂液壓馬達偏心曲軸的加工概況是怎樣的?)。大家應該都對其有了一定的了解,今天澳托士就來給大家說說另一個,力士樂液壓馬達配流軸的主要結構特點和加工概況。

(一)主要結構特點
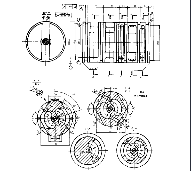
圖2-17為力士樂液壓馬達的配流軸零件工作圖。主視圖中心處鉆有通孔,溝通配流軸前、后兩端,以使軸向力得到平衡,為配流軸的浮動,在軸向方向上完成了所需的條件。
圖2-17中的A-A剖面和B-B剖面是馬達進油或出油配合軸頸處的狀況;D-D剖面為配流軸頸的具體結構,而E一E和C-C為平衡D-D剖面配流軸頸處單側徑向力而配設的平衡油槽的狀況,其平衡工作原理見圖2-11,此處不再贅述。

(二)加工概況
(l)鑄造成型,材料通常為球墨鑄鐵QT600-3。
(2)正火。多在箱式電阻爐內進行,一般在840-880℃保溫1-3h后,在空氣中冷卻,正火后,安排一次消除內應力回火。要求最終硬度為HB240-310.
(3)以軸向基準劃線。
(4)粗車外圓柱面和軸向長度符合尺寸。
(5)精車外圓柱面及各檔槽孔。
(6)上專用夾、模具,銳十字滑塊槽。
(7)在專用夾、模具上,翻身旋轉一定角度,銑切平衡油槽。
(8)鉆制有關平衡油孔。
(9)鉆制軸向通孔,攻絲9
(10)精磨外圓至規定尺寸和形位精度。
(11)去毛刺后,檢驗、人庫。