
聯系人:肖經理
電話:0755-23197339
傳真:0755-29859300
手機:13828771664
郵箱:aotuoshi@atus.email
地址:深圳市光明區公明街道上村社區蓮塘工業城B區第19棟101、第20棟
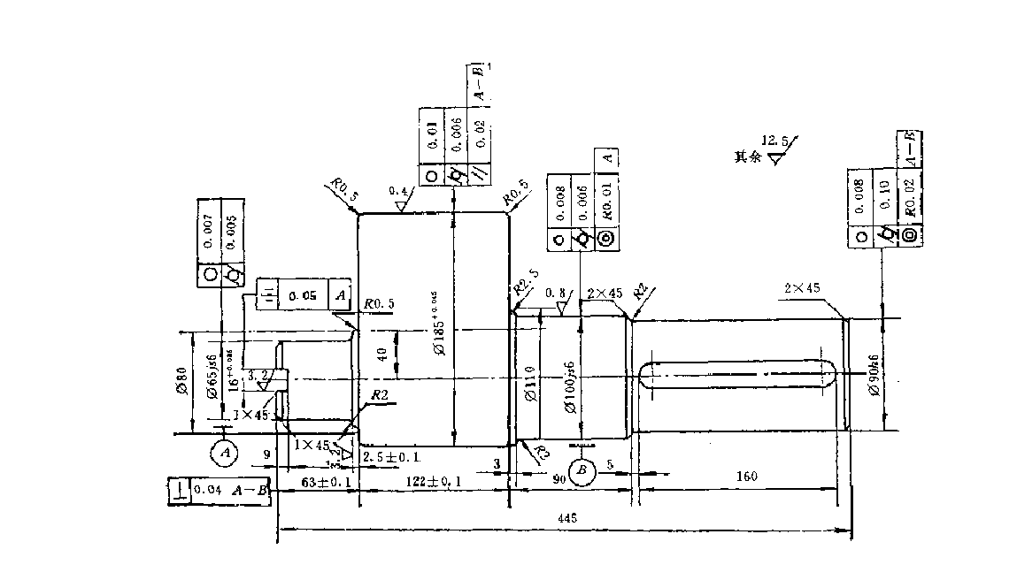
圖2-16是力士樂液壓馬達的整體式偏心軸,是具有普通意義的典型結構。技術要求為偏心距=40mm;偏心部分的軸心線與主軸頸的軸心線保證平行度允差在0.020mm之內。偏心軸其兩側支承軸頸的同軸度允差為0.Olmm,滑塊槽對稱中心線與對稱度允差為0.05mm,偏心輪表面的圓柱度允差為0.006mm.,偏心輪表面粗糙度直接影響靜態平衡位置油膜厚度的選取,故要求其ka值不大于0.4。

具體加工工藝順序大致如下:
(1)模鍛或自由鍛加工偏心軸零件。材料用40Cr鋼。
(2)車切兩端面,用復合中心鉆打頂針孔。
(3)粗車,各處約放1-2.5mm余量。
(4)調質熱處理。硬度為HB240-280。
(5)車制主軸軸心部各部位。車制時的定位基準以兩端頂針孔作為車加工尺寸,注意留放最終磨加工的磨削余量。
(6)以兩端軸頸定位,上偏心專用夾具,進行偏心輪外圓的車加工。
(7)偏心輪外圓處高頻淬火,硬度達HRC45-52.
(8)銑切主軸輸出軸端鍵槽或銑滾切加工該處花鍵。

(9)仍以兩端針孔為基準,磨加工除偏心輪以外的軸檔和端面。磨后達到圖紙要求的尺寸、精度和表面粗糙度。
(10)以軸頸外圓作為定位基準,再上專用偏心夾具或專用偏心軸磨床、磨加工偏心輪,使
其各部位達到圖紙要求。
(11)銑加工偏心軸內端十字滑塊凹槽,用專用夾具保證與偏心輪間的分度定位關系。
(12)有關處的鉆孔、攻絲。
(l3)去除各處毛刺、飛邊。
(14)檢驗合格后,上油、入庫、待裝。